


一、发布依据
《广州市人才绿卡制度》(穗府办规〔2016〕5号);
《中共广州市委组织部 广州市人力资源和社会保障局关于下放广州市人才绿卡行政审核事权的通知》(穗组通〔2019〕53号);
《 广州市番禺区人力资源和社会保障局关于印发〈广州市番禺区落实广州市人才绿卡审核事权实施办法〉的通知》(番人社规〔2020〕1号)。
二、适用范围
在广州市番禺区工作、创业的非本市户籍国内外优秀人才,可申领广州市人才绿卡,作为在我市居住、工作的证明,可用于办理个人事务。
三、申领条件
凡符合本区引进人才需求,每年在本区创业或工作超过6个月的,非广州市户籍的境内居民,香港特别行政区、澳门特别行政区居民,台湾地区居民以及外国人,持中国护照、拥有国外永久(长期)居留权且国内无户籍的留学人员和其他人员,在广州市有合法住所,符合以下条件之一的,可申领人才绿卡。
(一)经广州市认定或审核确认的高层次、高技能人才,包括:
1.中国科学院或中国工程院院士。
2.享受国务院特殊津贴人员,入选国家相关人才支持计划专家,全国杰出专业技术人才,国家、省(部)级突出贡献中青年专家,国家重点学科、重点实验室学术技术带头人, “中华技能大奖”获得者,全国和省级技术能手,世界技能大赛获奖选手。
3.国家和省(部)级自然科学奖、技术发明奖、科技进步奖项目主要完成人,“珠江人才计划”、“广东省培养高层次人才特殊支持计划”等省级人才工程入选者。
4.在本市年度重点项目主要承办单位,或本市战略性主导产业重点项目主要承办单位,或本市认定的总部企业等,现担任中高级管理职务或任职骨干技术岗位的人员。
5.广州市杰出专家、优秀专家、青年后备人才,广州市“百人计划”入选者,广州市产业领军人才,以及经广州市认定或审核确认的其他高层次、高技能人才。
(二)具有一定海外工作、学习和创新创业经历经验的海外高层次人才,包括:
1.在国外著名高校、科研院所担任相当于副教授以上职务的专家学者。
2.在国际知名企业(或世界500强企业)从事3年以上研发、管理等工作并担任过中高级职务的人才。
3.掌握核心技术,拥有自主知识产权,且技术成果达到国际先进或国内领先水平,具有较好的市场前景和产业化潜力的领军型人才。
4.有丰富的海外创新创业经历,并在本市、区重点产业领域中带技术、带项目、带资金来区创业,有助于提升我区相关产业发展水平的领军型人才。
(三)具有正高级以上专业技术资格,并具有相关领域从业经历10年以上的专家。
(四)具有全日制普通高等教育研究生学历并有博士学位的人员;或具有双一流大学(A类和B类)全日制普通高等教育研究生学历并有硕士学位的人员;或具有全球前500名的境外一流大学全日制研究生学历并有硕士以上学位的人员。
(五)具有高级技师职业资格,所从事的工种(岗位)符合广州市紧缺工种(职业)目录的人才。
(六)持有《外国专家证》或《中华人民共和国外国人工作许可证》(A类)的高端外籍人才。
(七)工资性年收入达到60万元人民币以上,且年缴纳个人所得税达到12万元人民币以上在我区就业的港澳台人员及外籍人员。
(八)符合我市经济社会发展需要,经有关部门认定具有某种特殊技能或专长的人才。
(九)通过《番禺区创新创业领军人才引进支持办法》、《番禺区产业领军人才贡献奖励办法》获得奖励或资助的各类人才(《番禺区产业领军人才奖励办法》第三章的“产业急需紧缺人才”和第四章“企业人才培育成长”专项获评的人才除外)。
(十)经教育、卫生部门认定的教育卫生类高层次人才。
(十一)在以下三类重点企业中担任高级管理职务或技术骨干人员:
1.本区年度重点项目中的产业建设项目和总部项目(区发改局提供);
2.上年度本区工业50强重点企业;上年度本区商贸服务业30强重点企业(区科工商信局提供);
3.上年度本区不超过20个重大招商引资项目(区投资促进中心提供)。
上述三类企业和人才名单,分别由区发改局、区科工商信局、区投资促进中心研究确定。
四、关于申领条件的补充说明
(一)人才绿卡申领人原则上年龄应小于55周岁,特殊情况可适度放宽。
(二)主卡成功申领满1年之后,方可申领相关副卡。
(三)按照申领条件第(一)款第4点之“现担任中高级管理职务”申请、且本人年龄在45周岁以下的,应具备全日制本科以上(含本科)学历。
(四)按照申领条件第(一)款第4点之“任职骨干技术岗位的人员”申请的,还应具备以下条件之一:
1.拥有副高以上(含副高)专业技术资格。
2.拥有高级技师资格,且取得高级技师资格3年以上。
(五)按照申领条件第(四)款之“具有全球前500名的境外一流大学全日制研究生学历并有硕士以上学位的人员”申请的,所读学校为中外合作办学的,应有1年以上海外校区学习经历。
(六)按照申领条件第(五)款申请的,须同时具备以下两个条件:
1.拥有高级技师资格,且取得高级技师资格3年以上。金融、民航等领域从业人员,无法提供高级技师资格证书的,应提供由市级以上行业主管部门出具的相当于高级技师资格的证明文件。
2.从事紧缺工种10年以上。
(七)按照申领条件第(八)款申请的,应由市直行业主管部门或区党委组织部认定,并经市人才办核准。
(八)按照申领条件第(十)款申请需提供相关部门出具的聘书、获奖证书、荣誉证书、入选通知书或批准文件等证明材料。
1.教育高层次人才主要包括:
(1)具有正高级专业技术资格的校长、教师。
(2)国家级名校长、名教师,省级“特支计划”教学名师,省级特级教师。
(3)获得国家级教学成果奖二等奖以上的成果主持人。
(4)省级名校长或名教师,知名学校的校级领导,省级优秀教师,省级优秀班主任,副省级城市以上学科带头人。
(5)获得省级教学成果奖特等奖或一等奖的成果主持人。
2. 卫生高层次人才,主要包括:
(1)具有卫生系列正高级专业技术资格的医务人员;
(2)省级或以上名医、名中医等称号获得者;
(3)市级或以上卫生行政主管部门认定的高层次卫生人才。
(九)按照申领条件第(十一)款申请的,申领人所在单位应向相关主管部门提出申请,由主管部门核定。须具备以下条件之一:
1.高层管理人员:高层管理职务包括企业正、副(总)经理、各职能总师、总监及其他类似公司管理层的职务。
2. 骨干技术岗位的人员:“拥有副高以上(含副高)专业技术资格”,或“拥有高级技师资格,且取得高级技师资格3年以上”。
五、相关待遇
人才绿卡持有人可按照《广州市人才绿卡制度》第五条的规定,享受办理长期居留证件和R字签证、子女入学、购房购车、办理营业执照等一系列待遇。具体见《广州市人才绿卡制度》(穗府办规〔2016〕5号)。
六、申报材料
(一)申领主卡
需提供两类材料:一是申领人基本申报材料,二是针对不同申领条件所需的专项申报材料。
申领人基本信息材料包括:
1.由人才绿卡管理系统自动生成的、且经申领人本人签名确认并加盖单位公章的《广州市人才绿卡申请表》。
2.符合中华人民共和国第二代身份证制作标准的电子相片。
3.学历、学位证书。
4.有效的身份证明:
(1)具有外国国籍的提交本人有效护照,具有港澳台身份的,提交本人有效的《港澳居民来往内地通行证》或《台湾居民来往大陆通行证》。
(2)取得外国永久(长期)居住权、仍持有中国护照的人员,提交本人护照和外国永久居留证明。
注:境外申领人已经入境的,须提供合法的入境证明。
(3)境内非广州户籍的人员,提交本人居民身份证和户口簿。
5.聘任书、聘用合同或者劳动合同,且合同有效期自申报绿卡之日起不少于6个月。
6.在广州的合法住所证明:房产证或有效期6个月以上的房屋租赁合同等。
7.申领人所在单位在省参加社会保险的,还须提供单位在省连续参加社会保险的历史缴费记录(在广州市参保并可查询的不用提交)。
专项申报材料包括但不限于以下材料:
1.符合申领条件第(一)款第1、2、3、5点的,提供相关聘书、获奖证书、荣誉证书、入选通知书或批准文件等高层次人才证明材料。符合第4点的,提供:①政府关于年度重点项目计划主要承办单位、或战略性主导产业重点项目主要承办单位、总部企业等最新年度认定文件;②重点项目主要承办单位或总部企业的营业执照、管理层的组织架构图;③担任中层及以上管理职务的任职命令文件,担任主要技术骨干的工作经历、业绩证明,以及相关的学历学位证书、副高级专业技术资格证书或高级技师证书等;④申领人近6个月的个人所得税纳税明细。
2. 符合申领条件第(二)款第1点的,提供海外从事任教、科研等工作的经历证明及专业技术资格证书;符合第2点的,提供在海外国际知名企业、世界500强企业担任过研发、管理部门中高级职务的任职文件;符合第3点的,提供在海外工作、学习和创新创业期间的核心技术成果简介或专利技术名称及专利授权号;符合第4点的,提供在海外创新创业和来穗创业投资或者经营业绩的相关证明。
3.符合申领条件第(三)款的,提供正高级专业技术资格证书以及近10年从事相关专业的工作履历证明。
4.符合申领条件第(四)款的,提供研究生学历及博士或硕士学位证书,或者境外硕士研究生学历学位证书、教育部留学服务中心出具的学历学位认定书、就读境外大学的最新年度全球综合排名网上截图(上海交通大学发布的世界大学学术排名ARWU、英国泰晤士高等教育发布的THE世界大学排名、英国Quacquarelli Symonds 公司发布的QS 世界大学排名,提供任一排名均可)。
5.符合申领条件第(五)款的,提供:①高级技师证书、证书网上查询截图、申领人参与培训与考试的报名表、准考证等相关证明材料;②用人单位的营业执照及主营业务范围;③近10年从事紧缺工种履历证明和社保记录;④如申领人是在外省市培训并考取高级技师证书的,还应提供申领人在所在城市考证时的单位工作证明、劳动合同、社保缴费记录(或纳税证明)或在校学习(培训)证明等。
6.符合申领条件第(六)款的,提供:有效的外国专家证或中华人民共和国外国人工作许可证(A类)。
7.符合申领条件第(七)款的,提供申领人收入证明和纳税证明。
8.符合申领条件第(十一)款的,申领人须提供相关部门出具的证明材料,以及担任高层管理职务的任职文件、企业管理层组织架构图或担任骨干技术岗位人员的工作经历、业绩证明。
(二)申领副卡
人才绿卡持有人可为随行配偶、未成年子女、父母、配偶父母等亲属申领人才绿卡副证,除提供主证、基本信息材料(主卡基本信息中的1、2、4点,其中申请表为副卡申请表)外,还应提供以下相关材料:
1.为配偶申请副卡时,提供婚姻关系证明、配偶基本信息材料。
2.为子女申请副卡时,提供子女医学出生证明、子女基本信息材料。
3.为父母申请副卡时,提供包含申领人本人与其父母的户口簿或派出所有效证明、父母基本信息材料。
4.为配偶父母申请副卡时,提供主卡人与配偶的婚姻关系证明,以及包含配偶本人与其父母的户口簿或派出所有效证明、配偶父母基本信息材料。
(三)变更、补办、续办绿卡。
1.变更绿卡,持卡人因工作单位或居住地等情况发生变化,应在30天内提供变更要素证明和原绿卡证复印件办理变更。
2.补办绿卡,提供补办原因说明、原绿卡证复印件或绿卡证号和身份证。
3.续办绿卡,绿卡期满的,应当在期满前30天提供原绿卡证复印件和续签合同或新的有效身份证明等材料办理续期。如申请续办时原申报条件已发生改变,则需按新的申报条件重新提供有关申报材料。
七、申领流程
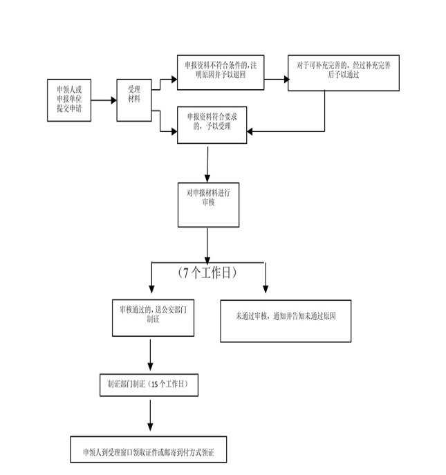
广州市人才绿卡申领全流程包括:申请—核定—制证—发证,申领过程在网上完成,不接受纸质材料申报,具体如下:
(一)网上申请。申领人登录“广州市人才绿卡管理系统” https://gzrsj.hrssgz.gov.cn/vsgzhr/login_rclk2.aspx,按相关流程指引填报、上传相关报表和附件材料,具体操作详见《广州市人才绿卡管理系统个人业务申报操作指南》。申请表上的相片须与提交的电子相片一致;申请表在网上填写完后,须下载、打印,经申领人签名确认和加盖单位公章,与申报材料一并上传到系统附件中。
注:按照申领条件第(十一)款申请的,由申领人所在单位向主管部门提出申请,经主管部门审核通过并在区政府门户网站进行公示后,申领人方可在系统进行网上申请。
(二)后台审核。申领人提交申报材料后,受理窗口进行初审和复核,报区人社局进行终审,在7个工作日内完成审核认定。如申报材料不符合要求,则进行退案处理并要求申领人补充提交材料。退案后,审核认定期限自再次补交材料时重新起算。申领人可随时登录人才绿卡管理系统查询审核和后续办理进程。申报材料存疑的,申领人须配合查验或提供相关佐证材料。
(三)公安制证。经审核认定符合条件的,转至市公安局制证。市公安局按《广州市人才绿卡申领指南》在15个工作日内完成制证。
(四)窗口发证。市公安局完成人才绿卡制作后,按《广州市人才绿卡申领指南》在3个工作日内送受理窗口。申领人可选择现场或邮寄到付方式领证(详见下图)。

八、受理窗口:广州市番禺区人才交流管理办公室
地址:广州市番禺区市桥街桥兴大道10号
番禺人才大楼5楼
咨询电话:020-37759119、020-84699661
工作时间:周一至周五(法定节假日除外),上午09:00—12:00,下午14:00—18:00
九、注意事项
(一)所提供的材料按照先基本信息材料、后专项材料的顺序将原件扫描件上传至人才绿卡管理系统附件,如系外文证明材料还应提供合法机构出具的中文翻译件。上传前,如系个人申请表和身份信息材料,申领人必须进行个人签名确认;如系单位证明,则需加盖单位公章。
(二)在审核过程中,区人社局如对申报材料存疑的,可以要求申领人补充提供其他相关佐证材料。
(三)申请单位和申领人须对所提供材料的真实性和合法性负责,如发现单位或个人提供虚假证明材料和信息,或与不法机构合作骗取人才绿卡的,一经查实,将列入诚信黑名单,并取消申领人申报资格和申请单位3年内申办资格,已发放的人才绿卡将收回并注销。涉及违法的,移送相关部门处理。
(四)相关单位和申领人如需核实人才绿卡持卡人身份、人才绿卡真伪等信息,可登录 “广州市人才绿卡在线查询系统” 输入持卡人的姓名、身份证号和人才绿卡卡号进行查询,网址为:http://gzrsj.hrssgz.gov.cn/vsgz21rclk/GreenCardSearch.aspx。
关注 · 广州政府网